-
MBA联考解读电子科技大学2017级MBA提前面试方案
-
MBA联考解读电子科技大学2017级MBA提前面试方案
为了全面推进电子科技大学MBA项目的良好发展,不断优化生源结构,自2014年起,电子科技大学MBA推出“提前面试”招生方式,对于综合素质良好的考生实行不高于国家A线录取。凡符合教育部要求的MBA报考条件且计划报考电子科技大学MBA的考生均可申请提前面试。2016年,电子科技大学将继续采取“提前面试”招生方式,详细情况如下:
一、mba项目简介
电子科技大学(原成都电讯工程学院)是教育部直属的国家首批“211工程”和“985工程”重点建设大学,被誉为“中国电子工业的摇篮”,“高新技术的源头、创新人才的基地”。
电子科技大学MBA教育始于1997年。MBA项目秉承“扎根IT及其应用领域,技术创新与创业并重,特色化与国际化发展并进”的战略定位和发展思路。在2001年9月中国高校工商管理硕士学位(MBA)教学合格评估(第二批)中,电子科技大学MBA教育的综合成绩位居全国第二,办学特色居全国第一。2012年4月,电子科技大学MBA教育顺利通过了“AMBA国际认证”(Association of MBAs,世界三大商学教育认证组织之一,全球最具权威的商学院MBA项目国际认证体系),标志着电子科技大学MBA教育迈向全面国际化发展的新征程。
二、mba招生方式
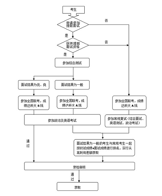
1. “提前面试”招生方式。采取“提前面试申请、背景评估、提前面试(综合素质)、网上报名、现场确认、全国联考、复试(政治理论考试和英语面试)、正式录取”的方式进行。凡符合教育部规定的MBA报考条件的考生均可申请提前批面试,面试结果达到优、良的考生进入电子科技大学MBA“精锐计划”,面试结果为“一般”的考生进入电子科技大学MBA“新锐计划”,将分别享受相应的专项政策。
2. “常规批”招生方式。采取“网上报名、现场确认、全国联考、过线复试(综合素质+政治+英语)、择优录取”的方式进行。
三、mba招生政策
1.招生项目
电子科技大学2017级MBA招生计划名额最低300人,可根据参加提前面试考生的数量和质量进行调整,包含以下项目:
序号
项目名称
学习方式
上课地点
面试地点
项目特点
1
“创新与变革领导力”
脱产
成都
成都
面向企业创新创业实践,通过系统的经济管理知识学习和整合性技能训练培养创新型管理精英。
2
成都在职MBA
周末、晚班、集中班
成都
成都
专业方向设置:电子商务与服务管理、互联网金融与财务、市场营销、战略与人力资源管理、创新与创业管理
以上2个项目分别独立招生,面试结果独自排名,各项目招生人数可根据参加其提前面试考生的数量和质量进行调整。
2.mba提前面试专享政策
电子科技大学自主划定A、B两条录取线,其中B线为两者中的低线(不高于国家线),A线为两者中的高线。
面试结果
享受政策
入选计划
占参加当批次总人数比例
说明
优
B线预录取
精锐计划
80%
MBA联考成绩达当年电子科技大学B线(不高于国家A线)即直接获得预录取资格
良
一般
A线优先录取
新锐计划
20%
联考成绩达当年电子科技大学A线可以按“初试分+面试分”的总成绩与常规批申请该项目的考生一起排名,从高到低依次录取。同等条件下获“优先录取”资格。
(1)入选精锐计划且第一志愿报考电子科技大学的考生,当年联考成绩未达到电子科技大学B线,该“预录取”资格可保留至第二年。
(2)入选新锐计划且第一志愿报考电子科技大学的考生,在联考成绩通过电子科技大学A线后,如个人提出申请也可再次参加常规批综合面试,取两次面试高者与常规批申请该项目的考生一起排名,从高到低依次录取。
(3)凡通过提前批面试的考生,第一志愿须报考电子科技大学,参加全国MBA联考,成绩达到相应分数线,且通过电子科技大学复试(政治理论考试和英语测试),成绩合格者才能按相应政策获得“录取”资格。

3.mba申请流程图

四、mba申请条件
凡符合教育部要求的MBA报考条件的考生均可申请。
1. 中华人民共和国公民,年龄不限。
2. 研究生毕业者须有两年以上工作经验(2015年9月前毕业);大学本科毕业者须有三年以上工作经验(2014年9月前毕业);大专毕业者须有五年以上工作经验(2012年9月前毕业);
3. 身体健康状况符合国家和电子科技大学规定的体检要求。
五、mba面试时间
计划从6月份起,陆续分批次安排面试,具体面试时间请关注电子科技大学MBA教育中心网站
批次
网上申请截止日期
公布面试名单
面试时间
公布面试结果
第一批
5月3日
5月6日
5月15日
5月20日
第二批
7月5日
7月8日
7月16日
7月22日
第三批
8月30日
9月2日
9月11日
9月19日
第四批
10月7日
10月10日
10月15日
10月19日
第五批
11月8日
11月11日
11月19日
11月25日
六、mba提前面试步骤
步骤于3月份详见电子科技大学MBA官方网站通知
重要提示:
1. 以上信息若有变更,请以电子科技大学MBA中心网站最新通知为准。
2. MBA中心将分批组织提前批招生开放日活动,为考生解读提前面试相关政策,请各位考生关注中心网站。
特别说明:以上信息最终解释权归电子科技大学MBA教育中心所有。
雄松华章最早于2003年开办管理类硕士联考培训,是该领域的领袖品牌。多年来,以“专业教学研究+精确把握考点信息+精选全国名师+联考高通过率”等优势闻名,被誉为管理类联考培训中的“黄埔军校”。
-
推荐阅读
- 【MBA提前面试】 中山大学管理学院2024年工商管理硕士(含EMBA、MBA、国际MBA和医疗管理MBA)提前面试安排
- 【MBA提前面试】 深圳 | 华中科技大学2024年MBA聚英计划提前面试发布
- 【MBA提前面试】 招生信息 | 2024年广东工业大学MBA提前面试安排
- 【MBA提前面试】 提面通知 | 武汉大学经济与管理学院2024年工商管理
- 【MBA提前面试】 2024年中山大学商学院MBA(深圳)提前面试申请
- 【MBA提前面试】 提前面试安排丨中山大学管理学院2024年工商管理硕士(含EMBA、MBA、国际MBA和医疗管理MBA)
- 【MBA提前面试】 2024年广州大学工商管理硕士(MBA)提前面试通知
- 【MBA提前面试】 北大光华2024级MBA提前面试方案
您可能感兴趣的课程


